핑거룹1

  • 핑거룹1
  • 핑거룹1
  • 핑거룹1
  • 핑거룹1
제품명
핑거룹1
재질
실리콘/TPU
색상
크기/무게
제조 국가
중국 OEM
디자인
TL Global Ltd. (대한민국)
제조 및 판매사
TL Global Ltd. (대한민국)
특허
- 10-2023-0111616(KR) - ZL202322567676.6(CN) - 10-2024-0127652(KR) - 113210201(TW) - 202322567676.6(CN) - HAGUE DM/238465 - 00000000000(IN) - 00000000000(ID) - D236145(TW) - 202417428(AU) *주의사항 : 현시점에 본 사이트에 등록되어 있는 판매계정들만 도매 판매를 할 수 있습니다. 여타 공급처에서의 구매는 특허침해에 해당하여 판매가 불가할 수 있으니 바이어들은 유의하시기 바랍니다.
구매처

구매처 및 국가별 유통사

등록된 유통사가 없습니다.

  • 제품 설명
  • 자주 묻는 질문

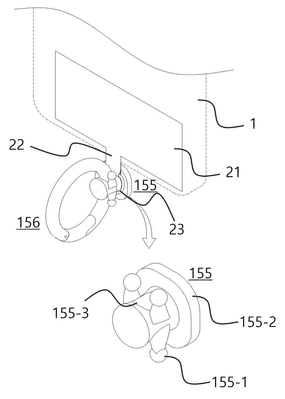
새끼손가락을 끼워서 사용하는 제품으로 기존 다른 제품들에 비해 최소한의 동작으로 착탈이 가능하고 심플한 디자인과 더불어 견고하게 휴대폰 이탈을 방지하는 특징을 가짐




자주 묻는 질문

자주 묻는 질문이 없습니다.